詳細說明
ZAZQ(X)電動三通調節閥有合流和分流二種型式,由DKZ電動執行機構和三通合流或三通分流調節組成,以電源為動力,接受統一的標準信號0~10mA DC或4-20mA Dc驅使閥門開度與此操作信號相對應。電動三通合流分流調節閥主要用于三通管道,用于主管道分為兩條管道和兩條管道合為一臺管路的場合。
一、ZAZQ、X電動三通合流分流調節閥概述
ZAZQ(X)電動三通調節閥有合流和分流二種型式,由DKZ電動執行機構和三通合流或三通分流調節組成,以電源為動力,接受統一的標準信號0~10mA DC或4-20mA Dc驅使閥門開度與此操作信號相對應。合分流閥的作用是將一種流體分成兩路流體。分流合流閥只能對應選用,但當DN≤80時,合流閥可用于分流場合。可替代兩臺單、雙座調節閥,節省投資,占據空間小。三通調節閥通常用于熱交換器的兩種介質調節,及簡單的配比調節。
電動三通調節閥產品口徑由25mm至200mm,公稱壓力有1.0、1.6、4.0、6.4MPa,溫度范圍-60℃至450℃,控制信號為0~10或4~20mA.DC。配用不同的執行機構可分為普通型和電子型兩種。
本系列電動三通調節閥是以電為驅動方式,電動執行機構的電路板及其他元件在發生故障時可能會產生火花。所以在使用環境較為惡劣或輸送易燃易爆的介質時建議選擇氣動三通調節閥。
二、ZAZQ、X電動三通合流分流調節閥性能指標
項目 | 指標值 | |
基本誤差% | ≤±3.5 | |
回差% | ≤2.5 | |
死區% | ≤3.0 | |
始終點偏差% | 電開、電關 | ±2.5 |
| ±2.5 | |
允許泄量L/H | 符合JB/T7387-94Ⅲ級小于閥的額定容量×10-3 | |
三、ZAZQ、X電動三通調節閥技術參數
公稱通徑mm | 合流 | 25 | 32 | 40 | 50 | 65 | 80 | 100 | 125 | 150 | 200 | 250 | 300 |
| 分流 |
|
|
|
|
| 80 | 100 | 125 | 150 | 200 | 250 | 300 |
額定流量系數Kv | 合流 | 8.5 | 13 | 21 | 34 | 52 | 85 | 135 | 210 | 340 | 535 | 800 | 1260 |
| 分流 |
|
|
|
|
| 85 | 135 | 210 | 340 | 535 | 800 | 1260 |
公稱壓力 MPa | 1.6 4.0 6.0 | ||||||||||||
流量特性 | 直線 | ||||||||||||
執 | Ⅱ型 | DKZ-310 | DKZ-310 | DKZ-410 | DKZ-510 | DKZ-510 | |||||||
| Ⅲ型 | DKZ-510C | DKZ-310C | DKZ-410C | DKZ-510C | DKZ-510C | |||||||
| 出軸推力(N) | 4000 | 4000 | 6400 | 16000 | 16000 | |||||||
| 行程mm | 16 | 25 | 40 | 60 | 100 | |||||||
上閥蓋型式 | 1.6 | 1.0 | 2.5 | 1.6 | 1.5 | 1.0 | 0.65 | 0.4 | 0.3 | 0.16 | 0.26 | 0.18 | |
允許壓差(MPa) | 普通式(常溫型),熱片式(中溫型) | ||||||||||||
介質溫度℃ | -40~230℃(常溫型),散熱片式230~450℃(中溫型),特殊訂貨-100~600℃ | ||||||||||||
可調比 | 30:1 | ||||||||||||
法蘭標準 | 鑄鐵按JB78-59,鑄鋼按JB79-59 | ||||||||||||
輸入阻抗 | Ⅱ型:200 Ⅲ型:250 | ||||||||||||
出廠狀態 | 電開(對上閥座而言),如需電關,訂貨時應注明 | ||||||||||||
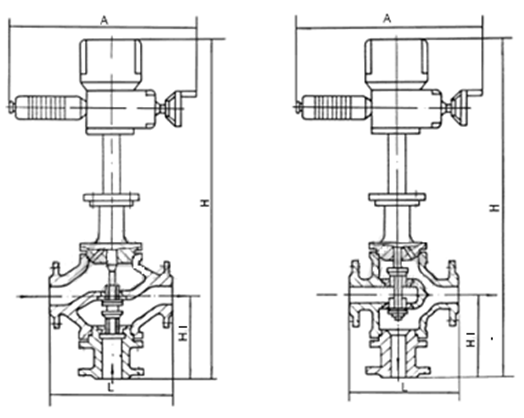
四、ZAZQ、X電動三通調節閥外形尺寸
訂貨時請填寫《規格書》或注明以下內容:
若訂貨前還未選定電動三通調節閥型號,請向我們提供您的電動三通調節閥使用參數:
1.電動三通調節閥公稱通徑、額定流量系數KV,
2.電動三通調節閥流體性質(包括公稱壓力、溫度、粘度或酸堿性),
3.電動三通調節閥信號壓力、彈簧范圍,
4.電動三通調節閥閥體、閥芯材料,
5.電動三通調節閥是否帶附件,說明附件型號。以便我們的為您正確選型。



相關新聞
相關產品
氣動雙座調節閥
ZDLP電動單座調節閥
氣動防爆球閥
氣動三通球閥